欢迎您来上海就业网

手机APP
当前位置 首页 > 职场薪闻 > 其他频道 > 上海资讯 > 沪籍居民可就近申领、换领、补领身份证 附拍照点
沪籍居民可就近申领、换领、补领身份证 附拍照点
作者: 时间:2016/12/19 阅读:2173次

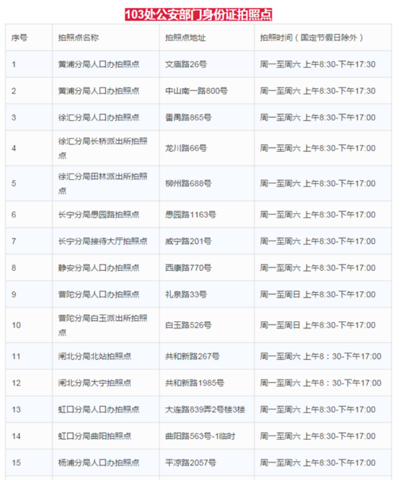
据上海发布,住在浦东,可以去户籍所在地虹口换领身份证吗?市公安局说,上海户籍居民可在户籍地、居住地、工作地的公安派出所户籍窗口就近办理身份证的申领、换领、补领,而且全市103处公安部门身份证拍照点、66处社会照相馆、7处社区事务受理服务中心均可拍照哦!


来源:民生社会
热门推荐